上偉科技自1990年成立,專精電信網通、監視影音、廣播音響、安全防盜、門禁對講、資訊網路、電子事務、精密儀器、機電控制等十大專區。提供台北、新北雙北地區現場維修與安裝服務,秉持合法、專業、快速施工與穩固安裝,深獲企業客戶信賴。
上偉科技企業有限公司|台北新北電信設備維修安裝|雙北現場維修服務 上偉科技-維修服務力求精確快速,工程安裝務必確實穩固,產品銷售首重公道合理-sunwe 歡迎加入上偉科技官方 Line ID →@926grgqb 重視維修速度、工程品質及售後服務,歡迎詢問功能及報價-sunwe 歡迎加入上偉科技官方 Line ID →@926grgqb 重視維修速度、工程品質及售後服務,歡迎詢問功能及報價-sunwe  ID→

@926grgqb

創始於1990年
上偉科技企業有限公司|台北新北電信設備維修安裝|雙北現場維修服務 上偉科技我們非常重視您的需求,為避免購買到不合適的產品歡迎來電 02-22267567(代表號)上班時間有專人為您服務

(02)2226-7567(代表號)

上偉科技官方郵件信箱sunwe@sunwe.com.tw提供您詢問產品價格的需求(服務範圍只侷限台灣地區)上班時間內會盡速回覆報價,更歡迎工廠合作提案

sunwe@sunwe.com.tw

上偉科技地址:

新北市中和區員山路138號3樓

 

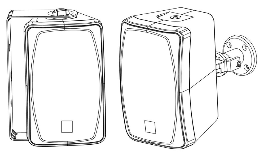
NWB-8

80W 雙音路壁掛式喇叭

 

NWB-SERIES 雙音路壁掛式喇叭-上偉科技www.sunwe.com.tw

現代設計,音質優良
NWB系列包括3款全面的產品,有黑色或白色可供選擇。
喇叭配備3.5吋、5吋或8吋低音喇叭,加上1吋球頂高音喇叭。
功率範圍爲80 W。
變壓器可供70 V和100 V應用使用。
NWB系列符合IP55及EN 54-24認證標準

 

NWB-SERIES 雙音路壁掛式喇叭-上偉科技www.sunwe.com.tw

 

特色

NWB系列是專業柱陣列喇叭,採用1.0毫米網布和1.0毫米網罩,有效保護單元免受外部損壞並防止灰塵進入喇叭。
箱體採用塗層鋁合金製成,手感細膩。
系統採用電源變壓器切換電源,有效保護單元。
爲防止高功率輸入信號損壞單元,可並聯使用,以避免對低阻抗的PA放大器造成損壞。
鎖緊支架螺絲固定在箱體內板上。
固定板採用3毫米厚的鐵板,有效分解支架拉力。

 

NWB-SERIES 雙音路壁掛式喇叭-上偉科技www.sunwe.com.tw

 

規格

標準

通過歐洲標準EN 54-24: 2008認證
用於火災探測和火災報警系統的語音警報喇叭。
認證編號NO.1438-CPR-0694

環境型別

B型(戶外應用)

箱體防護等級(IP)

IP55/IP33C (EN54-24)

內建喇叭

8吋全頻紙盆喇叭

額定噪聲功率和電壓

80 W(100 V定壓線路和70 V定壓線路)

額定阻抗

100 V定壓線路:125 Ω (80 W);250 Ω (40 W);500 Ω (20 W);1;0 kΩ (10 W)
70 V定壓線路:62 Ω (80 W);125 Ω (40 W);250 Ω (20 W);500 Ω (10 W)
旁路-8 Ω

敏感度

87 dB(1 W,1米)(500 Hz-5 kHz,粉紅噪聲)
76 dB(1 W,4米)(100 Hz-10 kHz,粉紅噪聲)符合EN54-24標準
87 dB(1 W,1米)(100 Hz-10 kHz,粉紅噪聲)根據EN54-24標準換算

頻率響應

50 Hz-20 kHz

最大聲壓級

87 dB(20 W,4米)(100 Hz-10 kHz,粉紅噪聲)符合EN54-24標準
105 dB(20 W,1米)(100 Hz-10 kHz,粉紅噪聲)符合EN54-24標準

覆蓋角度(--6dB

水平覆蓋:215° (500 Hz),130° (1 kHz),135° (2 kHz),165° (4 kHz)
垂直覆蓋:360° (500 Hz),235° (1 kHz),100° (2 kHz),180° (4 kHz)

重量

6.3 kg/13.9 lbs

尺寸(毫米)

16"(406 mm) * 9.8"(250 mm) * 10"(251 mm)

喇叭組件

3吋紙盆喇叭

工作溫度

-25℃至+70℃

適用的線材

實心線:φ6.0mm(18AWG) UL2464

線材連接

陶瓷端子 × 2,喇叭線材,直徑6毫米,白色(正極) 黑色(公共端)

表面處理

箱體:ABS+PC,黑色/白色
网状喇叭網罩:表面處理,黑色/白色噴漆
喇叭壁掛支架:表面處理鋼板,黑色(NSP-6)/白色(NSP-6W)噴漆
通用連接支架,螺絲安裝包,不鏽鋼承重鋼纜

 

NWB-SERIES 雙音路壁掛式喇叭-上偉科技www.sunwe.com.tw

 

 

NWB-SERIES 雙音路壁掛式喇叭-上偉科技www.sunwe.com.tw

 

NWB-SERIES 雙音路壁掛式喇叭-上偉科技www.sunwe.com.tw

 

NWB-SERIES 雙音路壁掛式喇叭-上偉科技www.sunwe.com.tw

 

Sunwe 上偉科技提供 SHOW 寬音域投射式廣播喇叭,具備防潮、防水設計,適用於室內外公共廣播系統。支援雙北地區現場維修服務,協助企業、校園、機構與商用場所建置高效能廣播音響設備,提升音訊傳播品質與覆蓋範圍,並提供完善售後支援。

CSP-220 SHOW 20W 防潮型寬音域投射式喇叭-sunwe廣播音響 CSP-220D SHOW 20W 防潮型寬音域投射式喇叭-sunwe廣播音響 CS-30A SHOW 30W 防潮型寬音域投射式喇叭-sunwe廣播音響
 

CSP-220

20W 防潮型寬音域投射式喇叭

 

CSP-220D

20W 防潮型寬音域投射式喇叭

 

CS-30A

30W 防潮型寬音域投射式喇叭

 

CS-30R SHOW 30W 防水型寬音域投射式喇叭-sunwe廣播音響 CSR-205Y 20W 壁掛式球型喇叭 CSR-306Y 30W 壁掛式球型喇叭
 

CS-30R

30W 防水型寬音域投射式喇叭

 

CSR-205Y

20W 壁掛式球型喇叭

 

CSR-306Y

30W 壁掛式球型喇叭

 

NPJ-5 20W 投射式喇叭-上偉科技www.sunwe.com.tw NPJ-5D 雙向 20W 投射式喇叭-上偉科技www.sunwe.com.tw NSP-5 20W 懸掛式喇叭-上偉科技www.sunwe.com.tw
 

NPJ-5

20W 投射式喇叭

 

NPJ-5D

雙向 20W 投射式喇叭

 

NSP-5

20W 懸掛式喇叭

 

NSP-5MB 20W 投影式喇叭-上偉科技www.sunwe.com.tw NSP-6 30W 懸掛式喇叭-上偉科技www.sunwe.com.tw NSP-6MB 30W 投影式喇叭-上偉科技www.sunwe.com.tw
 

NSP-5MB

20W 投影式喇叭

 

NSP-6

30W 懸掛式喇叭

 

NSP-6MB

30W 投影式喇叭

 

CS-212 SHOW 12W 防潮型音柱喇叭-sunwe廣播音響 CS-304 40W 室內音柱喇叭-上偉科技www.sunwe.com.tw CS-308 60W 室內音柱喇叭-上偉科技www.sunwe.com.tw
 

CS-212

12W 防潮型音柱喇叭

 

CS-304

40W 室內音柱喇叭

 

CS-308

60W 室內音柱喇叭

 

CS-312 120W 室內音柱喇叭-上偉科技www.sunwe.com.tw CAS-304 40W 室內/外鋁型音柱喇叭-上偉科技www.sunwe.com.tw CAS-308 60W 室內/外鋁型音柱喇叭-上偉科技www.sunwe.com.tw
 

CS-312

120W 室內音柱喇叭

 

CAS-304

40W 室內/外鋁型音柱喇叭

 

CAS-308

60W 室內/外鋁型音柱喇叭

 

CAS-312 120W 室內/外鋁型音柱喇叭-上偉科技www.sunwe.com.tw CSB-40 40W 壁掛式懸吊式喇叭-上偉科技www.sunwe.com.tw CSB-40T 40W 壁掛式懸吊式喇叭-上偉科技www.sunwe.com.tw
 

CAS-312

120W 室內/外鋁型音柱喇叭

 

CSB-40

40W 懸吊式壁掛喇叭

 

CSB-40T

40W 懸吊式壁掛喇叭

 

NWB-3 20W 雙音路壁掛式喇叭-上偉科技www.sunwe.com.tw NWB-5 40W 雙音路壁掛式喇叭-上偉科技www.sunwe.com.tw NWB-8 80W 雙音路壁掛式喇叭-上偉科技www.sunwe.com.tw
 

NWB-3

20W 雙音路壁掛式喇叭

 

NWB-5

40W 雙音路壁掛式喇叭

 

NWB-8 80W

雙音路壁掛式喇叭

 

CSB-50/50CV 30W 室內音柱喇叭-上偉科技www.sunwe.com.tw

CSB-50/50CV

30W 室內音柱喇叭

CSB-150/150CV 60W 室內音柱喇叭-上偉科技www.sunwe.com.tw

CSB-150/150CV

60W 室內音柱喇叭

CSB-175/175CV 90W 室內音柱喇叭-上偉科技www.sunwe.com.tw

CSB-175/175CV

90W 室內音柱喇叭

 

SHOW 寬音域投射式喇叭影片介紹

 

廣播系統裝設要點-上偉科技www.sunwe.com.tw

廣播喇叭-銷售及送修服務

上偉科技企業服務網, 台北及新北電電信’監視’廣播’防盜’門禁設備維修和工程安裝服務,事務機器’精密儀器’機電控制設備全省銷售, 產品設備售後服務支援

上偉科技-信任從維修開始,雙北地區現場維修服務,產品設備台澎金馬全省銷售及送修服務-sunwe

上偉科技http://www.sunwe.com.tw上偉通信資訊服務網,洽詢電話:(02)2226-7567(代表號),電子郵件:sunwe@sunwe.com.tw,地址:新北市中和區員山路138號3樓,專人客服時間:星期一至星期五 08:30 ~ 17:30

(02)22267567

(代表號)

技術問題及產品送修請來電或加LINE詢問

專人客服時間:

星期一至星期五 08:30 ~ 17:00 (星期例假日除外)

公司地址:新北市中和區員山路138號3樓

統一編號:23577342

通信技術(電信線路)-乙級證照-上偉科技企業服務網

網路架設-丙級證照上偉科技企業服務網

歡迎加入上偉科技官方 Line ID →@926grgqb 重視維修速度、工程品質及售後服務,歡迎詢問功能及報價-sunwe
歡迎加入上偉科技官方 Line ID →@926grgqb 重視維修速度、工程品質及售後服務,歡迎詢問功能及報價-sunwe  ID→

@926grgqb

上偉科技自1990年成立,專精電信網通、監視影音、廣播音響、安全防盜、門禁對講、資訊網路、電子事務、精密儀器、機電控制等十大專區。提供台北、新北雙北地區現場維修與安裝服務,秉持合法、專業、快速施工與穩固安裝,深獲企業客戶信賴。

作業流程

  • Linemail電話詢價
  • 傳送正式報價單
  • 回傳報價單確認
  • 出貨或安排工程
  • 回上偉通信資訊網服務網首頁 購買須知-上偉科技企業服務網 上偉科技產品詢價單上偉科技企業服務網

    國內出貨低於NT3000需NT200運資

    一般採郵局代收貨價方式出貨

    (特殊情況除外)

    上偉科技企業有限公司|台北新北電信設備維修安裝|雙北現場維修服務
    電信網通 監視影音 廣播音響 安全防盜 門禁對講
    資訊網絡 電子事務 精密儀器 機電控制 綜合商品